Alphabetical Index|A|B|C|D|E|F|G|H|I|J|K|L|M|N|O|P|Q|R|S|T|U|V|W|X|Y|Z

Geographical Index|AK|AL|AR|AZ|CA|CAN|CO|CT|DE|DC|FL|GA|HI|IA|ID
IL|IN|KS|KY|LA|MA|MD|ME|MI|MEX|MN|MO|MS|MT|NC|ND|NE|NH|NJ|NM
NV|NY|OH|OK|OR|PA|RI|SC|SD|TN|TX|UNK|UT|VA|VT|WA|WI|WV|WY
 

quicklinks|buses|cars|designers|fire apparatus|limos|pro-cars|taxis|trailers|trucks|woodies

 
Curtiss Aerocar Co. - Aerocar Co. of Detroit - Adams Trailer Corp.
Adams Trailer Corp., 1921-1922; Garden City, Long Island; Hammondsport, New York; Aerocar Co./Corp. 1928-1940, Wilmington, Del.; Curtiss Aerocar Co., 1929-1934; Opa-locka, Florida; 1934-1940, Coral Gables, Florida; 1940-1942, Miami, Florida; Aerocar Company of Detroit, 1929-1938; Detroit, Michigan
 
Associated Builders
Brunn & Co.; Briggs Mfg. Co.
     

1919-1921 Adams Trailer Corp., Garden City, Long Island, New York; 1920-1922, Grand Central Palace, New York; 1921-1922, Hammondsport, New York.

Aerocar Co. of America/Aerocar Corp., Wilmington, Delaware.; 1928-1942.

1929-1934, Curtiss Aerocar Company Inc., 1170 Sharazad Blvd., Opa Locka, Florida; 1934-1940; 300 Valencia Ave., Coral Gables, Florida; 1940-1942, 1200 Anastasia Ave., Coral Gables, Florida.

1929-1938; Aerocar Company of Detroit Inc., 1800 Buhl Bldg. (535 Griswold St.), Detroit, Michigan; 7425 Melville St., Detroit, Michigan; 4815 Cabot Ave., Detroit, Michigan (unrelated to the Aerocar Company, an early Detroit based manufacturer of automobiles circa 1906-1908.)

Glenn H. Curtiss (b.1878-d.1930) is best remembered today for his numerous accomplishments in the field of aviation, however he was a multifaceted inventor and engineer who had a hand in numerous transportation-related businesses. His prior success in the fields of self-powered 2-wheeled vehicles (bicycle & motorcycle) had a major influence on his aeronautical success, and after his early retirement he joined Carl G. Fisher in the development of South Florida real estate and manufacturing.

Although he was never directly involved in auto manufacturing, he held multiple automobile dealerships (Ford, Frayer-Miller and Orient Buckboard) in his hometown of Hammondsport during the early 20th Century. He experimented with a propeller-driven wind car in 1905 and in 1917 introduced the nation’s first flying automobile, the Curtiss Autoplane. He fitted several cars with his 90 h. p. Curtiss OX-5 V-8 engines and owned numerous custom-built automobiles for which he either designed or commissioned unusual streamlined features and coachwork.

Curtiss was also a proponent of motor travel, and developed one of the nation’s first travel trailers which was followed by his famous luxury fifth-wheel Aerocar trailers constructed along aeroframe principles. His final project was a modular fwd automobile constructed using a pneumatic suspension he had developed for use as a fifth-wheel trailer hitch.

Glenn Hammond Curtiss was born on May 21, 1878 in Hammondsport, Steuben County, New York to Frank Richmond Curtiss (b.1854 - in Stouffville, ON, Canada - d. Jan. 30, 1883) and Lua A. Andrews (b.1857-d.1935). Named after Lazarus Hammond, who first surveyed the community in 1829, Hammondsport was a small village located at the southern tip of Keuka Lake, one of the numerous small lakes that make up western New York’s Finger Lakes region.

Frank R. Curtiss was the village’s harnessmaker and his shop/home was located at the head of Shether St., Hammondsport’s main drag. Frank and Lua’s union was blessed by the birth of two children, Glenn Hammond (b.1878) and Rutha Luella (b. February 15, 1881-d. Mar. 2, 1960) Curtiss.

Tragedy stuck the household in 1882 when Frank passed away leaving Lua to raise young Glenn and his infant sister on their own. Rutha came down with meningitis in 1887, and although she eventually recovered, she was left without her hearing. In September of 1889 Lua  and Rutha Curtiss moved to Rochester, New York, so Rutha could attend the Western New York Institute for Deaf-Mutes, now known as the Rochester School for the Deaf*.  Glen remained in Hammondsport to finish his education, joining his family in Rochester after graduation from the 8th grade.

(*Rutha attended the facility from September 1889 to June 1903, and returned as an instructor after graduation from college.)

Once in Rochester Glenn took a position with the Eastman Dry Plate and Film Co., the predecessor of Eastman Kodak, as a film stock stenciler and later on a camera assembler. As soon as he could afford a bicycle, he left his factory position to become a bicycle messenger with the Rochester office of Western Union.

His mother Lua ran a storefront school after graduating from the State Teacher’s College in Geneseo, Livingston County, New York and on April 1, 1895 married Rock Stream, N.Y. native J. Charles Adams. Adams was an old acquaintance of Lua’s and owned a substantial vineyard on the west side of Seneca Lake. The couple remained in Rochester for a short time, but the impending birth of G. Carl Adams, the half-brother of Glenn H. Curtiss, who was born in 1897, prompted the relocation of the family to Rock Stream where Glen was given a job at his stepfather’s vineyard/orchard.

Rock Stream was located just 18 miles east of his hometown of Hammondsport and his love of bicycling led him to join a Hammondsport Wheelman’s club. On March 7, 1898 Curtiss married Lena Neff, born at Prattsburg, Steuben County, New York on September 14, 1879, a daughter of Guy L. Neff, a prominent Steuben County lumberman. He listed photographer as his occupation on the marriage certificate, as he had recently taken a job with Saylor’s Studio in Hammondsport, the newlyweds having moved in with Curtiss’ paternal grandmother, Ruth Curtiss. He also worked as a part-time bicycle repairman for the local pharmacist, James H. Smellie, who was Hammondsport’s sole bicycle retailer.

In 1900 Smellie offered Curtiss an opportunity to take over his bicycle repair business and Glenn opened up a combination bicycle repair and harness goods shop on Pulteney St., Hammondsport using leftover inventory from his father’s old harness works.

Curtiss soon embarked upon the manufacture of his own assembled bicycles, using parts sourced from his suppliers, under the ‘Hercules’ trade name. Business and profits improved to the point where a satellite was established in nearby Bath, New York (and in 1902 - Corning, New York) and the business was renamed as Curtiss’ Bicycle Stores. Soon after James H. Smellie transferred his new bicycle business and inventory to Curtiss, making him the region’s main distributor of Cleveland, Columbia, National, Racycle and Stearns bicycles.

In May of 1901 Curtiss visited the Pan-American Exposition in Buffalo where he became infatuated with the E.R. Thomas Auto-Bi motorcycle, and following his return home he set about building his own motorcycle using a mail-order E.R. Thomas raw block casting and a home-made carburetor.

During early 1902 he established a second satellite sales facility in Corning, New York, and announced that he would now be specializing in the sales and service of motorcycles.

Dissatisfied with the engines currently on the market, Curtiss embarked upon the design and manufacture of his own power-plant. He found a handful of willing investors and by the end of the year he had founded the G.H. Curtiss Manufacturing Company and began to manufacture his own line of motorcycles and motorcycle engines under the Hercules brand name.

His marriage to Lena was blessed with the birth of a son, Carlton, in March of 1901, but the infant suffered a congenital heart defect and survived only eleven months. Lena vowed to have no more children and engrossed herself in caring for Glenn’s blind and elderly grandmother. When Ruth Curtiss passed away in late 1903 Lena joined the workforce at G.H. Curtiss Mfg. Co., taking charge of the firm’s office and bookkeeping for the remainder of the decade. She eventually softened her position on the matter of children and in 1912 gave birth to a second, healthy child, Glenn H. Curtiss Jr.

In January 1903 Curtiss attended his first New York Automobile Show, after which he became an annual exhibitor, displaying the latest Curtiss motorcycles or engine. Curtiss became a well-known automobilist, and he served as Hammondsport’s Orient Buckboard, Frayer-Miller, and Ford Motor Co. distributor.

The Hercules was campaigned at various races throughout the Northeast and on May 30, 1903 he piloted a Hercules V-twin equipped motorcycle to victory in a ten-mile race, setting a one-mile speed record in the process. The well-publicized victory alerted a small California firm to the fact that Curtiss was using their registered trademark as his own, so Curtiss took the advice of his closest associates re-christening his motorcycles and their engines with his own surname.

The feat was followed by trips to Ormond Beach, Florida where he made successive attempts at breaking the World Land Speed record. The resulting publicity brought in orders for his motorcycle and he started offering the standalone powerplant to third parties, and in a few short years his V-Twin was the most popular engine in the country. A Curtis-powered balloon made an appearance at the 1904 World’s Fair in St. Louis and Curtiss became friend with its pilot, Thomas Scott Baldwin, who subsequently relocated his balloon and dirigible factory to Hammondsport.

A 1906 offer to supply the Wright Brothers with Curtiss engines was rebuffed by the fiercely independent brothers, but at the time held no great significance for Curtiss. He continued with the development of his V-twin engines and by 1906 had built his first V-8 engine, which consisted of 4 Curtiss V-Twins mounted back-to-back. The monstrous V-8 was fitted to a purpose-built Curtiss motorcycle frame and in January of 1907 its namesake piloted the world’s first V-8 equipped motorcycle to a speed of 136 m.p.h. at Ormond Beach, Florida, becoming the ‘Fastest Man On Earth’. He held the title until 1911 when Bob Burman beat his time in a 4-wheeled Benz, remarkably Curtiss’ two-wheel record stood until 1930.

In June of 1907 Curtiss flew over Hammondsport in a Curtiss-equipped Baldwin dirigible, and in October he joined the Aerial Experiment Association, a group founded by Alexander Graham Bell, and financed by Bells’ wife Mabel who – like Rutha Curtiss, Glenn’s sister - was deaf.

Curtiss continued to try and get the Wright Brothers interested in his power plants, but they continued to be uninterested. In 1908 the AEA began assembling some experimental craft in Hammondsport and on March 12, one of its members, ‘Casey’ Baldwin piloted the ‘Red Wing’ for 319 feet over the frozen surface of Keuka Lake. In May Curtiss piloted the ‘White Wing’ on a 1000 foot flight which historically was the first American aircraft to be equipped with a ailerons for navigation. On July 4, Curtiss flew the ‘June Bug’ for a distance of 5,090 feet, earning him the Scientific American Magazine trophy, which required an unassisted take-off and straight flight of at least one kilometer.

A float-equipped ‘June Bug’, re-christened the Loon, failed a November, 1908 water-launched flight test, but the AEA moved on to the next project, the ‘Silver Dart’ which during February of 1909 became the first airplane to fly in Canada.

Despite their many accomplishments, the AEA disbanded that March, bequeathing its designs and patents to Curtiss. Curtiss subsequently constructed his own aircraft, the ’Gold Bug’, which was sold to the New York Aero Club for $5,000 and renamed the Golden Flyer. The sale infuriated the Wright Brothers, who erroneously believed that they held the patent on all moveable wing surfaces. Although Curtiss’ ailerons were an entirely new development, The Wrights sued in August of 1909, launching one of the nastiest vehicle-based lawsuits in US history, second only to the Henry Ford vs. ALAM suit.

At that time Curtiss was at an airshow in Reims, France, where he piloted the ‘Reims Racer’ to a record speed of 47 m.p.h., earning himself the Gordon Bennett Cup, a trophy sponsored by the publisher of the New York Herald, James Gordon Bennett.

Curtiss spent the winter improving his engines, and on May, 29th, 1910, piloted the V-8 equipped ‘Hudson Flyer’ on a 151-mile flight from Albany to Governor’s Island in 2 hours, 51 minutes, at an average of 52 m.p.h., earning himself a $10,000 prize and permanent possession of the Scientific American trophy.

Curtiss continued to work on a plane that was capable of taking off from water, but in the meantime was satisfied to create one that was capable of taking off from a ship. In November, 1910 Eugene Ely successfully took off from a specially designed platform on the U.S. S. Birmingham and then flew his Curtiss to shore at Hampton Roads, Virginia. Ely made the all-important reverse trip in January, 1911, taking off from San Bruno, California’s Tanforan racetrack and landing his Curtiss on a specially-built platform on the U.S.S. Pennsylvania in San Francisco harbor. The two events marked the first time an aircraft had made a ship-borne take-off and a ship-borne landing.

In December, 1910 Curtiss had established the first U.S. Naval Aviation School at North Island, at the north end of the Coronado peninsula on San Diego Bay. Early in 1911 Curtiss followed up Ely’s success with his own first successful takeoff from water in the Curtiss A-1 hydroplane which was closely followed by the first successful hydroplane flight to a ship. That May the U.S. Navy ordered two Curtiss A-1 hydroplanes, making Curtiss the first supplier of Naval aircraft to the US Government.

In 1912, Lena and gave birth to a second child, Glenn Curtiss, Jr. and Glenn gave up competitive flying.

Up to this time, all of Curtiss’ aircraft had been pushers - aircraft whose propellers were mounted behind the wings, pushing it through the air. A 1913 visit to the Sopwith Aviation Co. in South West London, England changed his views on the subject. At that time Sopwith was manufacturing tractor airplanes and hydroplanes whose front-mounted propellers pulled the aircraft through the air.

The US Army had expressed an interest in tractor aircraft for its training program, so Curtiss commissioned Sopwith’s chief engineer, Benjamin D. Thomas, to design him a tractor-style aircraft that would be suitable for use as Army trainers. Two successive bi-planes, the Curtis JN-1 and JN- 2 were introduced in 1915 to limited success. A lighter and improved bi-plane design, the Curtiss JN-3, debuted in 1915 and by December of 1916 a much improved version, the JN-4 replaced it. The US Army Air Corps. and Royal Flying Corps. liked what they saw and after an extensive testing regimen placed a series of large orders for the JN-4 trainers, which were known as the Curtiss ‘Jenny’. The JN-4 was the most famous US-built plane of World War I and an estimate 95 % of all American pilots were trained on a Jenny. During the buildup to the War the Federal Government pressured the Wright Co./ Wright-Martin Co. - which was no longer controlled by the Wright Bros. as Wilber was dead and Orville had sold his interest in the firm in 1915 - to settle their long-running patent dispute with Curtiss in 1916.

The settlement coincided with the formation of the Curtiss Aeroplane and Motor Corp., which took over a portion of the Curtiss’ existing Garden City, Long Island research facility in order to commence production of small numbers of OX-5 engines and JN-4 trainers and Curtiss hydroplanes for the military. The ramp up to war greatly increased the demand for Curtiss’ aircraft and engines, and although some manufacturing took place in Curtiss’ old Hammondsport factory, Curtiss relocated their main manufacturing operations to Buffalo, New York where available manufacturing capacity far outstripped the local demand. The additional space came in handy when Curtiss was awarded a contract to produce 3,000 Spad single seat fighters (and a few Bristol F.2 fighters) in late 1917. Unfortunately suitable American-made power plants were not forthcoming and both contracts were abruptly cancelled in early 1918.

Although he maintained his principle residence in Garden City, Long Island, Curtiss kept a house in Hammondsport and leased another one in Buffalo, where he became acquainted with the craftsmen at Brunn & Company, Buffalo’s premiere custom automobile body builder.

Between 1916 and 1918 Brunn constructed four custom bodies for Curtiss on Marmon 34, Pierce-Arrow 66 and Cadillac Type 53 ‘special’ chassis. Herman C. Brunn, the son of the firm’s founder, Hermann A. Brunn, recalled his father’s work for Curtiss in the March-April issue of Antique Automobile, in an article entitled ‘Four Custom Bodied Cars Designed for Glenn Hammond Curtiss’ a few paragraphs of which are excerpted below:

“…Mr. Curtiss became one of the firm’s most valued and loyal customers. His choice of chassis ranged from the Pierce Arrow 66, Marmon 34 and Cadillac. He haunted the factory whenever one of his bodies was being built and was on a first name basis with many of the employees. He even contributed some early aerodynamic design features to two bodies built on the Pierce-Arrow 66 chassis. As well as being a considerate and astute man, he was a workman himself and a stimulating person to have around.

“The last of the cars was a 1916 town car built for Mrs. Curtiss on a 145” wheelbase Cadillac chassis. Mr. Curtiss wrote my father (Hermann A. Brunn) a letter in 1923, the last paragraph of which reads as follows: ‘It may interest you to know that the suburban town car built on the 145” wheelbase Cadillac is still doing service in almost daily runs to town, and although it is now seven years old, it is as good looking as any car that tolls the streets of New York.’

“The design of this body on the Pierce-Arrow 66 chassis occupied quite a bit of Mr. Curtiss’ thinking. Note the cute angle of the ‘V’ windshield and the extreme round line of the rear of the roof. The car made heads turn as it rolled down the streets, and at least once, drew some more serious attention to itself. Mr. Curtiss told my father the story of how in mid-1917, after the United States had entered World War I, he had the car at his home in Florida. He had been driving the vehicle, which was painted a medium shade of gray, near his home – when he was visited by the local police. It seems they had received several calls from nervous people who had caught a glimpse of the car in the night. They wondered if it was a military vehicle landed by the Germans on a secluded Florida beach with some sinister purpose in mind! The projectile-shaped Westinghouse air-springs attached to the front and rear springs probably contributed to the military vehicle image.

“This bulky looking two-door sedan, built in the early teens, had no running boards, but a step which folded down when the door opened. Again note the Westinghouse air-springs, which were advertised as ‘making the best car better.’ They were a profitable accessory for Brunn & Co. in those days, but passed from the picture with the advent of hydraulic shock absorbers and better chassis spring suspension.

“This luxurious center door sedan on the Marmon 34 chassis was one of Mr. Curtiss’ favorites, and he even allowed himself to be photographed standing beside the car.

“The last of the Brunn-bodied Curtiss cars was this town car built in 1916 after the family had moved from Buffalo to Garden City, L.I. There were a number of special features that helped disguise the fact that it was a 145” wheelbase Cadillac chassis. The radiator shell and headlamps of German Silver were exact duplicates of those on the Rolls-Royce. The small plaque on the face of the shell was engraved with the owner’s initial instead of the usual world famous R-R. Brunn built quite a few of these Rolls radiator jobs during the teens. No complaints ever came from England, probably because they were engaged in a war for survival and too busy to bother about a small coachbuilder on a side street in Buffalo, N.Y.”

A picture of the Brunn-bodied two-door Pierce-Arrow 66 with whitewalls and disc wheel covers appeared in the January 1919 issue of The American Blacksmith and is believed to have been constructed during 1918, and not during or prior to 1916 as stated by Herman C. Brunn in the previous quotation.

Richard B. Wilder, a former Long Island neighbor of Curtiss’ wrote a follow-up letter to Brunn’s piece that was published in Vol. 41, No. 2, (March-April 1977 issue) of Antique Automobile:

“Glenn Curtiss Cars

“Thank you for the article by Hermann C. Brunn on the four cars made for Glenn Curtiss. When I was a child, the Curtisses were neighbors of ours in Garden City and I remember the cars very well.

“The town car was very elegant and was upholstered in damask satin and with gold hardware. The Curtiss head gardener always placed three pink carnations in the Tiffany glass flower holder every morning. In 1926 the car was traded in on a Pierce-Arrow.

“The big sedan was used primarily to take the children to school, as it was designed to hold nine passengers. Glenn Jr., was a contemporary of mine and many rides I had in that car.

“Mr. Curtiss was a delightful man and very popular with the young fry, particularly as he seemed to have an endless supply of quarters and fifty cent pieces which he tossed into the swimming pool for us to dive for.

“Mr. Curtiss loved cars and there were always more cars than their five-car garage would hold. There was a Packard twin-six torpedo body car of about 1920, which was quite comparable to the Cadillac if the early forties. Other cars included a six-wheel Chrysler, Cadillacs, Franklins, etc. Mr. Curtiss manufactured the first camp trailer.

“Richard B. Wilder, ‘Twin Brooks’, Kent, Connecticut 06757.”

Prior to the start of the War Curtiss’ products were largely assembled by hand, but the massive contracts forced Curtiss to look outside the firm for expertise in mass production. A necessary recapitalization attracted a group of investors associated with John North Willys, who subsequently elected the auto magnate as president of the firm, at which time Curtiss assumed the position of Chairman.

It’s unclear if Curtiss was forced out, or left of his own accord, however he appeared to relish his new-found freedom and began spending more time working on pet projects and began to look for additional business opportunities outside of the transportation industry.

One of his pet projects was the development of a flying automobile, or more precisely the Curtiss Model 11 Autoplane, which was introduced at the Pan-American Aeronautical Exposition which was held at Grand Central Palace from February 8-15, 1917.

Designed for airspeed of 65 m.p.h. and a road speed of 45 m.p.h. the Autoplane featured a leather-trimmed heated cabin with provisions for two passengers behind the single pilot’s seat. Its fully enclosed aluminum body was equipped with celluloid windows and travelled along the road using its four-blade pusher propeller at the rear of the roof. The propeller was connected to the front-mounted 100-h.p. Curtiss OXX V8 via a complex driveshaft, belt and pulley arrangement.

Two small permanently mounted canard wings were affixed to the extreme front of the body and when outfitted for the air it included two removable wire-braced booms spaced 9 feet apart to clear the propeller and a set of removable Curtiss Model L tri-plane wings which gave the 27 foot long vehicle a 40 foot 6 inch wingspan, both the wings and tail detached as a single, albeit cumbersome, unit. The Autoplane is reported to have made only a few short straight-ahead hops before development was abandoned due to the ensuing European conflict.

In mid-1918 a new slate was elected to the board of the Curtiss Aeroplane & Motors Corp. at the firm’s annual board of directors meeting, the May the May 23, 1918 issue of The Automobile/Automotive Industries reporting:

“Curtiss Elects Officers

“BUFFALO, N. Y., May 22 — Following are the officers and directors elected at the annual meeting of the Curtiss Aeroplane & Motors Corp. held recently:

“Glenn H. Curtiss, chairman of the board of directors; John North Willys, president; James E. Kepperley, vice president and general manager; C. M. Keys, vice-president; E. C. Morse, vicepresident; W. W. Moss, vice-president and comptroller; B. A. Guy, secretary and assistant general manager; J. F. Prince, treasurer; H. M. Root, assistant comptroller; J. J. Donahue, assistant treasurer; J. F. Weber, assistant secretary.

“The board of directors consists of Glenn H. Curtiss, C. H. Conners, Harry Evers, B. A. Guy, C. M. Keys, James E. Kepperley, W. A. Morgan, W. W. Moss, F. H. Russell, J. Allan Smith, G. C. Taylor, J. N. Willys, Rodman Wanamaker, W. B. Stratton and J. A. D. McCurdy.”

Although many believe that Charles Lindbergh was the first person to cross the Atlantic in an airplane, the truth is that he was the first person to fly across the Atlantic solo. On May 8, 1919, a group of Naval aviators piloting 3 Curtiss flying boats left the continental United States en route to Europe. On May 27th the sole remaining Curtiss arrived in Lisbon, Portugal, marking the first successful crossing of the Atlantic by aircraft.

Despite his laundry list of achievements, Curtiss had tired of the business of Aviation and in 1920 sold his controlling interest in the corporation that bore his name and retired, although he served as a part-time consultant to the firm for another decade.

Even though production of the Curtiss OX-5 extended well beyond the Armistice, surplus and slightly used OX-5s were easy to come by immediately after the War and although Curtiss himself wasn’t directly involved in the project, Curtiss Aeroplane & Motor Corp.’s vice-president C. Roy Keys installed a 90 h.p. Curtiss OX-5 V8 in a 1910 Winton in order to promote the sale of surplus Curtiss V8s for automobile use. A picture of the car accompanied the following ad which ran in the November 1921 issues of Aviation and Aerial Age Weekly:

“AVIATION FANS

“Build yourself a $10,000.00 automobile chassis with an old high-grade chassis and an overhauled OX-5, and have the satisfaction of driving a personally engineered custom automobile.

“Very light and easily made modifications only are necessary ordinarily on the motor and chassis.

“The above photograph shows a Winton, year 1910, chassis with OX-5 motor and special body. Weight fully loaded 3,600 lbs., maximum speed 100 m.p.h. Four speed chassis, 18.3 miles per gallon of commercial gasoline by actual continuous check at 30 miles per hour in high gear without slipping clutch, acceleration standing start to 45 miles per hour in 10 seconds. In three days' city-driving ran 145.2 miles on 9 ¼ gallons of commercial gasoline.

“Send self-addressed and 4-cent stamped large envelope for general data on above and Marmon installation, or one dollar for detail instructions with photographs and OX5 booklet.

“Curtiss Aeroplane & Motor Corporation, GARDEN CITY, LONG ISLAND”

An August 1974 letter from former Curtiss Vice-President Ray C. Keys to the Curtiss Museum provides further details on the Winton pictured in the advertisement:

“Picture #1 shows the Winton chassis which had many novel features but you would be principally interested in what the motor was like. I made 8 pistons with narrow ring grooves of auto type so as not to oil up idling speeds and high induction vacuum. I cut off the crankshaft at the hub and I had the 1910 square (dodge) black- (not the auto Dodge people) for the universal drive to the clutch which was a separate multi plate wet clutch.

“The chassis had a lot of features about which you would not be too interested. It was right hand drive with very heavy bronze lever controls and a final drive ratio of 1.99 to 1 as I remember it. Lawrence Marmon was probably about 4 to 1, hence I got good gas mileage. In fact it had a 40 gallon gas tank with 3 gallon reserve and I used to fill up in Buffalo and drive to N.Y.C. and back and not open the gas tank.

“Picture #1 was taken just after I put the thing together in an auto shop in Yonkers in 1921. I think, and built the body of aluminum sheets – maybe the first such in the country. We had, at Garden City, some women to weld aluminum for gasoline tanks replacing soldered ***?*** plate and a couple of them did that work. Notice the fenders are of sheet steel and the body itself sections are flat. We could not bend aluminum, and then put the heat of welding on it or it would warp. It was a handsome body pictured in a feature article in Vanity Fair Magazine, I designed it under an architect’s glass, which diminishes your image instead of magnifying it.

“Picture #1 was taken in front of the Garden City Curtiss Engineering Corporation office where Mr. Curtiss had the most desirable office and mine as factory manager was next to it. I was later V. President gas mgt. of the Curtiss Aeroplane and Motor Co. Inc. after we – the Keys Group – bought out Mr. Willys Curtiss Aeroplane and Motor Corporation.

“Picture #1 was taken when there was only a prime coat of paint on the vehicle and the wheels still. I think they called ‘quick detachable’ tires and the spare tires were carried as just outer casings with inner tubes and at the time, I had spring loaded front bumper (as of 1972 or so) and the spare tires were all of the rear bumpers. Also a Boyce ‘moto-meter’ thermometer in the radiator cap in vogue on current autos. Windshield was ½” thick plate glass (no laminate available in U.S. at that time.) which swiveled and I hoped would protect us in a roll-over some. It had a tilt-down steering wheel by Cadillac to give room to get out (1970 or so).”

In addition to the decade-old Winton, a picture exists of the OX-5 equipped 1917 Marmon ‘34’ cloverleaf roadster that was mentioned in the November 1921 issue of Aviation and Aerial Age Weekly and engineer Benjamin F. Gregory installed an OX-5 in an early front-wheel-drive racecar.

A small New York City automobile manufacturer named the Prado Motor Corp. produced as many as 10 OX-5 powered luxury cars during 1921 and 1922 and the Dallas, Texas-based Wharton Motors Co., constructed at least one OX-5 prototype.

For a while, at least, Curtiss thought about building cars himself and asked designer Miles Harold Carpenter, who had been building the Phianna luxury car with OX-5 power in Queens, New York, to organize a new Curtiss Motor Car Company. Carpenter prepared a number of drawings of proposed body designs for the vehicle, and a few prototypes are thought to have been built using OX-5 equipped Phianna chassis, but the recession of 1920-21 left the production Curtiss automobile stillborn.

Automotive historian Frank N. Potter explained this phase of the Curtiss story in ‘Darling of the Titans,’ published by The Upper Hudson Valley Automobilist in June 1962:

"Shortly after World War I, Miles Harold Carpenter, designer and manufacturer of the luxurious Phianna motor car, was also designing and building custom cars for Glenn Curtiss and his friends, and equipping them with modified Curtiss OX-5 airplane engines. These were long-wheelbase, very fast passenger cars. Carpenter designed the bodies in Curtiss's private den on Stewart Avenue in Garden City. The styles were very much ahead of the times and quite startling, even in an era when rakish cars were not uncommon.

"Curtiss asked Carpenter to build a plant and arranged with a banker, C.M. Keys, to finance the Curtiss Motor Car Company. The Curtiss cars were to use Phianna chassis equipped with OX-5 powerplants modified by Charles Kirkham, their original designer and chief engineer for Curtiss. Kirkham had designed and built all the Curtiss planes and engines up to the end of World War I. Neither Curtiss nor the Phianna cars survived the Depression of 1921."

In a subsequent letter to the AUHV’s editor, Keith Marvin, Potter theorized on the fate of the handful of Curtiss OX-5 equipped Phiannas:

"I do not know if any of the Carpenter-Curtiss cars still exist; I assume not. The last I saw any of them was around 1930, in New Rochelle, New York, where Carpenter had stored some partially completed cars and material when he moved everything out of Kirkham's shop in Garden City and closed up his Phianna operation. Some mechanics were working on this material, under Carpenter's direction, as well as helping him customize expensive cars for his wealthy friends.

"I recall seeing a Phianna chassis incorporating an OX-5 engine at this New Rochelle location. It was being fitted with a closed body from a Rolls-Royce. I doubt that this job was ever completed, inasmuch as Carpenter was then very busy with a small-car operation being set up in Canada, and all the New Rochelle material may have been sold for junk."

It is unknown if Glenn H. Curtiss had any direct involvement with the manufacture of the Curtiss-equipped Phiannas, although he was certainly aware of the project. Regardless the remaining surplus OX-5s were gradually disposed of, some as low as $50.

One of Curtiss’ first retirement projects was the building of a camping trailer for his periodic hunting and fishing trips into New York State’s Adirondack, Berkshire and Catskill mountains. Articles in the February 7, 1920, issue of Scientific American and the April 1920 issue of Popular Mechanics reveal Curtiss’ ‘compact hotel on wheels,’ was towed behind an automobile and offered him significantly more comfort than a tent. The light-weight 20 foot long trailer was constructed using ‘aircraft materials’ and its beaklike prow attached to the tow vehicle using a fifth-wheel hitch enabling it to be safely towed at speeds approaching 60 mph.

The interior of the rigid-roofed trailer included a folding table, storage compartments and a toilet. Exterior lockers held such useful items as a camping kitchen, spade, axe and miscellaneous hunting and fishing gear. The trailer could sleep six, four in hinged screened-in beds that hung from the rigid exterior walls and two inside.

Curtiss enjoyed his trailer so much that he established a small trailer manufacturing outfit to manufacturer them installing his half-brother, G. Carl Adams (1897- 1963) to head the operation which was headquartered in Garden City, Long Island although the trailers were actually manufactured in his hometown of Hammondsport.

George Carl Adams was born on January 24, 1897 to J. Charles Adams (b.1852), and Lua A. (Andrews) Curtiss (b.1857). As previously stated Glenn Curtiss’ biological father had passed away in 1883, and on April 1, 1895 his mother married Rock Stream, N.Y. native J. Charles Adams in Rochester, N.Y. Adams was an old acquaintance of Lua’s and owned a substantial vineyard on the west side of Seneca Lake approximately 7 miles north of Watkins Glen, New York. The couple remained in Rochester for a short time, but the impending birth of G. Carl Adams prompted the relocation of the family to Rock Stream where 19-yo Glenn was given a job at his stepfather’s vineyard/orchard.

While George Carl was still an infant, his stepbrother moved back to Hammondsport, which was located only 18 miles to the west, to live with his paternal grandmother. George Carl was raised on his father’s estate but his father’s alcoholism led to a split with his mother and George Carl accompanied her to Buffalo in 1907 to go live with her sister. George Carl attended the Buffalo schools, and made frequent trips to Hammondsport with his mother to visit his increasingly successful half-brother, Glenn.

Shortly after Glenn moved to San Diego, California to open his North Island flying school (1911-1913) his mother and stepbrother left Buffalo to come and live with him, a habit that would continue for the rest of his career. In 1912 he built a home for them in nearby Coronado that overlooked the Pacific, but three years later they returned to Buffalo where Glenn was busy establishing a new factory. When Glenn moved into a new home at 76 Lincoln Parkway, Buffalo, he rented a separate home for his mother at 426 Connecticut. St. Ironically George Carl Adams would start and complete his secondary education in the Buffalo public schools.

George Carl Adams adored his much older half-brother and upon graduation from high school, went to work for him - eventually becoming his most trusted business partner. After Glen relocated his household to Garden City, Long Island, George Carl made frequent trips between Long Island, Buffalo and Hammondsport tending to pressing business issues, and shortly after his brother ‘retired’ from the airplane business, Glenn installed him as president of a start-up firm formed to manufacture a line of travel trailers based on his recently-constructed travel-trailer.

A complete line of trailers was advertised; 5 camping and 10 commercial, all of which were built using a standard rectangular single axle bed and integral triangular prow whose single spike dropped into a receiver located at the rear of the tow vehicle.

The top-of-the-line Motor Bungalo Deluxe, which retailed at $1,200, had a rigid top and sides and measured 12 ft. 6 in. long, 5 ft. 8 in. wide and 6 ft. 4 in. tall. Next in line was the significantly shorter Motor Bungalo Junior a four model line of traditional folding canvas-topped camp trailers that were priced from $485 to $655.

The commercial trailers all shared the same unique 5-sided trailer bed as the Bungalo Jr., but were equipped with far less equipment. The basic open-bed Model A, priced at $195, could be outfitted with numerous options such as a basic rack; a flared rack; a deluxe cattle rack; a double deck; an express top with rigid roof and ’Tufhyde’ (nitirite-coated fabric) sides; and a standard top with rigid roof and rigid sides. Other commercial units included the $215 dumping trailer and the top-of-the-line $370 trailer with solid delivery body.

A Deluxe Motor Bungalow was featured in the June 1921 issue of Popular Science:

“Hitch a Bungalo to Your Car

“’Stop at the Glenmore!’ At regular intervals you see this sign as you tour through the country; you decided to stop there. But when you arrive, weary and worn, you find that the Glenmore is in the heart of the city on a noisy main street, or else that it is full.

“Glenn H. Curtiss and his brother-in-law, G. Carl Adams, have solved this problem by inventing a bungalow on wheels that is attached to the automobile, trailer fashion. It is well-equipped, and yet not heavy enough to cause excessive strain. When you wish to sleep, eat, or rest, you stop the car in some convenient place and move into the bungalow. There you will find a kitchen, pantry, a bathroom, clothes and bedding lockers, a table, chairs and berths that will accommodate six people. The bungalow even has electric lights and running water. The windows are all properly screened and they are also provided with water-proof curtains.

“The bungalo is coupled to the automobile by a bar.”

A display ad in the June 25, 1921 of the Trenton Evening Times:

"Make Your Vacation Worth While. Take One of Our Motor Bungalows Behind Your Car to the Mountains or Seashore. Come and visit our Camp at River Road and Trenton Junction Road (near Riverside Inn).

"Adams Trailer Corporation Garden City, Long Island, N.Y."

An early brochure for Adams's Motor Bungalo, bearing the slogan ‘Gypsie Life Modernized,’ included a drawing of a rigid, enclosed trailer and photographs of Curtiss' personal trailer. The brochure identified Adams as a ‘designer and builder of custom-built bodies,’ stating that the Motor Bungalo’s dimensions were 12 ft. 6 in. long, 5 ft. 8 in. wide and 6 ft. 4 in. tall. The Motor Bungalo, as drawn, looked much like Curtiss's trailer, from its V- shaped front end to its outwardly folding beds. Inside the Motor Bungalo, the brochure promised, one would find felt mattresses, clothes closets, tan curtain partitions, and bed curtains made of Pantasote, a nitrite coated leather substitute. The exterior would be bronze green, the interior dark oak.

The sales and export office were located in Manhattan, at Grand Central Palace with early trailers built at the Curtiss Engineering Corp. complex in Garden City, Long Island. Construction was soon transferred to Hammondsport, the September 1, 1921 issue of the Democrat & Chronicle (Rochester, NY) announced that Adams was relocating its machinery to the plant of Keuka Industries:

“NEW INDUSTRY AT HAMMONDSPORT

“Hammondsport, Aug. 31 - The machinery and material of the Adams Trailer Corporation of Garden City, L. I., has been moved to this place and installed at the plant of Keuka Industries, Inc., where the trailers and camp cars will be manufactured hereafter. The local company started making trailers this week. The trailer company reported that they are behind on orders now and that many persons who are traveling to southern states are buying camp cars and trailers.”

F. E. Brimmer’s ‘Autocamping’ (pub. 1923) included a thorough review of the Deluxe and Junior versions:

“We have found the Adams Motorbungalo a deluxe camping trailer outfit, with: two double spring beds and mattresses; a complete kitchenette including ice box refrigerator, folding kitchen table, shelf, holders for utensils and dishes, water tank, gasoline stove, and plenty of room to carry all bulk food; roomy wardrobe with hanger rod; screened and curtained windows to the number of five; and an absolutely water-tight roof. Speaking of the roof, this is a frame of light wood over which is placed 10-ounce heavy oil duck, and topped with Fabrikoid, much like the automobile tops of the best cars. From each side of the top extend leatherette curtains, or flies, this giving double protection of canvas and leatherette over your head.

“The beds counterbalance with the roof of this outfit, so that when opening the double spring beds their weight lifts up the roof; and vice versa, when shutting up this camp the weight of the roof in settling down helps close the beds. Although there are small adjustable braces that may be let down at each corner of the extended camp, still this is not necessary under ordinary conditions, so substantial is this outfit. It is braced in place securely by a foot extending down from the draw-pull and by the rear step. This camp can be unhitched and completely set up in five minutes anywhere. It is automatic simplicity itself. Just step inside, push out on the upright beds, and as they easily swing to horizontal your camp is automatically made entire.

“The 3-foot-square door that opens the kitchenette and wardrobe, slips off its hinges and becomes a camp table of regular height. The kitchenette may be opened from inside or out, whether you are trailing this outfit on the road and need to put in provisions, or have it erected in camp. Over the kitchenette and wardrobe there is a triangular-shaped shelf three feet on a side. The sides of this trailer are steel and the bottom is matched wood. The rear door has two panels, a screened window, and may be locked from inside or out.

“The hitch of the Motorbungalo is instantaneous ball and socket of the best type. Wheels are 30 x 3 ½ inches, the bearings are roller type, and there are excellent steel springs. This outfit attaches to the frame of your car, being secured by a rear bumper bolted by two braces to your car frame. The body is 84 inches wide and the sides 13 inches. The complete camp erected makes a shelter 9x12 feet. The complete bungalow weighs about 850 pounds.

“When on the road this outfit rides almost as high as the top of your automobile, but the front end is V-shaped and hence does not necessarily give more wind resistance than a trailer packing down lower. It is a camp that you may depend upon as dust-proof, bug-proof, and dry. Recently the author and his family, including the two small children, slept in this outfit during a period of rainy weather that lasted over a month and all but took the joy out of autocamping. However, day and night, we ate, lived, and slept in a bone-dry place inside this outfit.

“The Motorbungalo Junior is a lighter model made by the Adams firm, folding down flat and compact, but having only a canvas roofing over your head, as do all other standard trailers. It has the kitchenette, wardrobe space, screened windows, and two comfortable double spring beds. There is a curtain arrangement so that you can divide camp into two bedchambers if you like. The basic trailer is the same as for the regular Motorbungalo, which was originally designed by Glenn H. Curtiss and is today manufactured in the original airplane factories of the inventor. Both styles of Motorbungalo trailers may be stripped of their camping outfits and used as a commercial trailer the year round when you don't want to camp. The body has a drop tail gate.”

Adams Trailer Corp. offered at least 15 models: the top-of-the-line Motor Bungalo, at $1200; four ‘Camp Trailers’, ranging from $485 to $655; and ten ‘commercial trailers’ starting at $215 (with ‘dumping attachment’) and rising to $370 (with ‘solid delivery body’).

40 dealers, distributors and agencies offered Adams Trailers in Connecticut, Florida, Massachusetts, New Jersey, New York, Ohio, Pennsylvania, Ontario and Quebec.

The January 1922 issue of American Exporter announced the debut of a third model, the ‘ Highway Coach’:

“TRAILER IDEA IN A MOTOR BUS

“Acting upon the principle that ‘it is easier to pull a load than to carry it,’ Glenn H. Curtiss, pioneer aviator and airplane manufacturer, in conjunction with G. Carl Adams, president of the Adams Trailer Corporation, has constructed a novel and practical motor bus on a standard Dodge chassis. The new vehicle called the ‘Highway Coach’ can carry 26 people comfortably at very nearly the speed of the regular Dodge car. The chassis was shortened 12 inches but the brake, clutch levers, steering column and controls were lengthened. In spite of its unusual length this bus can be turned without backing in a 50 foot circle and with one backing in an ordinary street.”

Aside from the single prototype, which appeared in numerous magazine and newspapers, series manufacture of the ‘Highway Coach’ is doubted. Just as Curtiss was awarded a patent on his ‘Camp Car’ (US Pat. No. 1437172 – CAMP TRAILER - Filed Apr 28, 1921 – Issue Nov 28, 1922) production of the Adams Trailer was halted due to the post-war depression.

At the end of the year George Carl Adams and his wife Dorothy relocated to southern Florida to assist his half-brother in various real estate ventures. G. Carl Adams was an executive in the Florida Ranch and Dairy Corp., president of the Opa-locka Co., vice-president of Glenn H. Curtiss Properties, Inc. and president of the Everglades Construction Co. the contractor that constructed all the roads and sidewalks in Country Club Estates, Hialeah and Opa-locka. From 1930-1942 he served as mayor of Country Club Estates during which time the community was renamed Miami Springs.

Of a reported 100 built, a single, unrestored, Adams Motor Bungalo survives today in a drive shed on the grounds of the Backus Heritage Conservation Area near Port Rowan, Ontario, Canada. Unfortunately the estate is controlled by the Long Point Region Conservation Authority who currently has no plans on restoring nor donating it to the Curtiss Museum, which sadly does not have a Motor Bungalo in its collection.

Carl Graham Fisher, b.1874-d.1939, (of Prest-O-Lite automobile headlamp fortune) had befriended Curtiss before the start of the War, encouraging him to get involved in the burgeoning Southern Florida real estate market. Starting in 1917 Curtiss and his immediate family wintered in various Miami locations, and he soon discovered that the favorable Miami climate enabled year-round activity. Mayor Sewall encouraged him to become a permanent resident and in In 1918 Curtiss purchased a large plot of land there using some of it to establish a Marine Corp.’s Naval Air base, and the remainder for future land development.

During the next few years he partnered with South Florida land developer James H. Bright (b. 1866-d.1959) in a 120,000 acre plot northwest of Miami that would become the suburbs of Hialeah, Miami Springs, and Opa-Locka. Known collectively as the Curtis-Bright cities, many of the municipalities’ original architecture had a strong Moorish influence – based on Curtiss’ infatuation with the stories of the Arabian Nights*. As Curtiss became interested in developing his real estate and aviation interests in Florida, he invited his family members and long-time colleagues to join him.

*According to Opa-Locka historian Frank S. Fitzgerald-Bush (b.1925-d.1998) the Moorish theme was suggested by his mother Irene Q. Bush, the wife of Curtiss’ electrical contractor, Frank S. Bush (b.1894-d.1973), who upon viewing the building site exclaimed, “Oh, Glenn, it’s like a dream from the Arabian Nights”.

(l to r Lena Curtiss-Wheeler, H. Sayre Wheeler, Dottie Adams, G. Carl Adams at Glenn Jr.'s wedding, Oct. 1932)

Although property development now took up most of his time, Curtiss worked on numerous side projects in his home office, a number of which were automobile-related. One had to do with a novel pneumatic trailer coupling constructed using a rubber tire. The project hoped to eliminate various rideability and maneuverability problems experienced while towing trailers, in particular the dangerous tendency to sway sideways and roll over at increased speeds.

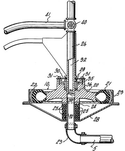
Attached to the underside of the forwardmost point of the trailer was a massive vertically oriented steel pin that dropped into a similarly sized hole located in the center of a steel rim mounted in a Goodyear airplane tire. The tire was encased in an enclosure mounted in the rear deck of the tow vehicle. The horizontal thrust (motion) of the trailer was absorbed by the tire, the vertical absorbed by a group of rubber discs located inside the enclosure – in much the same fashion that the needle contained in the tone arm of a phonograph rides in the grooves of a vinyl record. The hitch and hitch receptacle were christened the Curtiss Aerocoupler, and it proved instrumental in the success of the Curtiss Aerocar, a luxury coach designed to be towed behind an Aerocoupler-equipped automobile.

The coupler was fist utilized in a novel 3-axle automobile whose design followed that of the 1922 Highway Coach mentioned above. The vehicle’s rear-most axle supported the compartment that held the driver and his passengers (or cargo). The power unit (engine, drivetrain, drive wheels were housed in a separate structure which rode upon two front axles (the front-most axle handled the steering, the next transmitted power to the ground), in a manner similar to the Christie and Knox mechanical mules that appeared in the early Twentieth century - the two units being connected via the aforementioned Aerocoupler.

As stated previously, Richard B. Wilder, a Long Island neighbor of Curtiss’, recalled seeing a 6-wheeled Chrysler at the Curtiss’ mansion during the late 1920s that bears a passing resemblance to the drawing in the patent application. Unfortunately I could not locate any photos or descriptions of the vehicle. US Pat. No.1880842 – AUTOMOTIVE VEHICLE – Filed Aug. 8, 1925 – Issued Oct. 4, 1932

In 1927 Curtiss began development on a luxury trailer that incorporated the following: independent suspension for the passengers, three axles, streamlined shape, and speed. It also was designed to overcome deficiencies in the motor bungalow's rideability and maneuverability, including the tendency to sway sideways and roll at highway speeds.

The trailer (which was essentially an improved version of the vehicle patented in 1925 - US Pat. No.1880842 - which itself was an improvement of the Highway Coach of 1922) had a lightweight aero-derived streamlined body constructed using nitrite-coated fabric (likely Fabrikoid) laid over masonite panels that were affixed to a grid of vertical oak struts and longerons connected by diagonally crossed nickel steel truss wires and turnbuckles that when properly ‘tuned’ provided a significantly rigid structure. A single axle was affixed at the rear of the trailer, the front being constructed with a long curved V-shaped prow that mated to a Curtiss Aerocoupler installed in the rear deck of a coupe or roadster just ahead of its rear axle.

Although the wood-framed airplane was already thought to be obsolete, Curtiss felt its wood and wire truss construction was strong enough for terrestrial use (at the time a vehicle’s crash-worthiness was never mentioned publicly and rarely in private). The trailer’s body, just like that of the Curtiss ‘Jenny’ could be easily rebuilt using readily available products, its shape returned to normal by simply twisting a turnbuckle. Curtiss even boasted that the trailer body was ‘unusually safe’ because it would not collapse or break up if overturned.

The stunning prototype was completed in the spring of 1928, and Curtiss showed it off to his numerous friends and business associates, filing for a patent on both the trailer and its coupling on June 8, 1928. US Pat. No. 1880844 – ROAD VEHICLE BODY STRUCTURE – Filed Jun 8, 1928 was issued on Oct. 4, 1932 & US Pat. No. 1916967 – FLEXIBLE COUPLING FOR VEHICULAR STRUCTURES – Filed Jun 8, 1928 was issued on July 4, 1933. Although the patent specified a frame constructed of wood and piano wire, it included a drawing depicting an underlying structure built from small-diameter welded steel tubing.

Curtiss’ friend, Carl G. Fisher (the same Fisher who developed the Indianapolis Motor Speedway) was especially enthusiastic, urging him to consider manufacturing the vehicle on a large scale. In an April 1928 letter to Roy Chapin, chairman of the Hudson Motor Car Co., Fisher wrote:

"Glenn Curtiss has the greatest trailer that was ever made in America…. Glenn built this trailer for advertising purposes; he never had any idea at all, I don't believe, that anybody wanted to buy one. His principal idea was to build a light sign board that he could drag…. among the farmers and sell them farm land…. I told Glenn I wanted to buy four of them at once and he asked me what I wanted with them. He seemed very much surprised to think anybody wanted to buy one of these trailers. I am trying my very best to get Glenn stirred up to the enormous possibilities of this trailer for touring and for light delivery work.... The trailer has no chassis; it is made of wood and airplane wire, and the Universal joint is an airplane wheel with a rubber tire on it."

Curtiss wanted to manufacture the trailer in Florida, but Fisher and Chapin recommended he license the design to an automobile or body manufacturer in order to take advantage of their existing sales and marketing departments. During the summer representatives of Hudson (including Chapin) and Briggs Mfg. examined Curtiss' trailer.

Curtiss, Carl G. Fisher and Hudson consulting engineer and vice-president Howard Coffin went so far as to form a shell corporation, the Aerocar Company of America (later the Aerocar Corp.) in order to promote the vehicle. The firm’s investors included Walter O. Briggs (Briggs Mfg.), Roy Chapin, Howard Coffin (Hudson), Glenn H. Curtiss, Carl G. Fisher, Clement M. Keys (Curtiss Aeroplane & Motor), James Wilson (Murray Corp.) and Chester W. Cuthell (Curtiss’ corporate attorney).

The June 22, 1928 issue of the Everglades News announced the formation of the firm:

"New Plant To Use Glades Product

"Glenn H. Curtiss Joins in Project for Aerocar Manufacture at Opa-Locka

"Opa-Locka has been selected as the site for the first plant of the Aerocar Corporation, manufacturers of a new type vehicle to be attached to roadsters and coupes, Glenn H. Curtiss, inventor and designer, announced yesterday.

"Formation of the company controlling the manufacture for national distribution is in process, Mr. Curtiss said, and officers will include a number of influential business men of the north.

"Five designs, fully protected by patents held by Mr. Curtiss, have been selected and construction started on them. One has been completed and another will be finished within a few days.

"The fifth wheel, or connection between the Aerocar and automobile, is one of the features of the new vehicle. The connection is a wheel of aeroplane design and the car is of light aeroplane fuselage construction, minimizing weight, eliminating vibration and assuring speed and comfort.

"Celotex is used as a covering and the entire exterior is protected by Rub-Ros, a new paint filler of rubber and rosin, alos a local product. This application protects the aerocar from the elements.

"The five types to be built include the commercial car, designed for low cost trasnportation of bulky material; a school bus, a safe, economical vehicle which will not skid and is considered the safest type vehicle for this purpose availialbe; a camp car, which is roomoy and detachable, and considered ideal for Florida, and a private road car."

The Corporation financed the construction of a second prototype and during the late summer of 1928 the two Aerocars made a series of promotional tours of the Eastern US. One trailer - towed by a Hudson coupe – made a 39 hour trip from Miami to Manhattan, averaging 36 m.p.h. while the second traveled from Miami to Detroit at an average speed of 42 m.p.h.

Carl G. Fisher wrote enthusiastic letters to Walter P. Chrysler and Alvan Macauley trying to get them interested in the project, and Frank A. Seiberling, president of the Seiberling Rubber Co. (Barberton, Ohio), took a demonstration ride and offered to make an improved coupler at no cost, hoping to get the contract over Goodyear, his arch-enemy.

Briggs Mfg., Lang Body Co., Mengel Body Co., and Weymann-American Body Co. all expressed an interest in manufacturing the trailer while Hudson, Stutz and Graham-Paige expressed an interest in producing the specially-equipped tow cars.

Carl G. Fisher commissioned one Aerocar with a custom-built Stutz Coupe for his private use, and Hudson displayed an Aerocar/Hudson in its Manhattan factory showroom during September, 1929. Fisher used his Aerocar (outfitted with wicker chairs, a gasoline stove, radio, lavatory, folding table etc.) to transport a group of friends from Indianapolis to the Chicago Auto Show in January 1929.

In the end only two firms would manufacture the Aerocar trailer; the Briggs-controlled Aerocar Co. of Detroit, Michigan and the Curtiss Aerocar Co. of Opa-Locka, Florida. Although the vehicles were constructed using blueprints furnished by the Aerocar Co. of America/ Aerocar Corp. each firm was corporately unrelated to the other and there were numerous differences between Aerocars built in Florida and Aerocars built in Detroit. Carl G. Fisher thought that the Detroit Aerocars were ugly and cheaply built, and he recommended that his friends only purchased trailers built in Florida.

The Aerocar Co. of Detroit, was formed in mid-March, 1929 and capitalized at $20,000. Its incorporators included Walter O. Briggs, B. F. Everett, Roy H. Curtiss, Thomas B. Moore and George Krapfel, and its first corporate office is listed as 1800 Buhl Bldg., Detroit (18th floor of the early Detroit skyscraper located at 535 Griswold St.).

Walter O. Briggs installed his longtime friend and business associate Byron F. (Barney) Everitt (b.1872-d.1940) as president and general manager and leased a small factory at 7425 Melville St., Detroit. As orders increased the Aerocar operation relocated to Everitt’s former Rickenbacker factory at 4815 Cabot Ave., Detroit.

In July 1930 Detroit Aerocar announced the introduction of the model A-16 Aerocar camping trailer, a significantly shorter (by 5 feet) trailer which measured 16 feet long by 6 feet 4 inches wide and had 6 feet of headroom. Four passengers could sleep on divans placed along the rear and sides and on cushions that filled the center of the seating arrangement at night. Accessories included an ice box and cooking utensils.

By that time John A. Schroeder, another well-known Detroit auto executive, had acquired an interest in the firm and succeeded Everitt as general manager. In 1938, he had written, referring to his acquisition of Detroit Aerocar ten years earlier, “After studying it from all angles, I determined that there was a great future for trailer coaches and that a new industry was making its debut. For several years many of my friends took great delight in kidding me about fooling away my time and money. They were thoroughly convinced that people would not drive on the roads with that thing dangling about back there. It has become a matter of pride with me to prove them wrong”.

Schroeder sold his interest in Detroit Aerocar in 1935, becoming head of sales for the trailer division of the Liggett Spring and Axle Company (aka S.H. Liggett Co.). Well-known aircraft engineer Ora Galen Blocher (b.1903-d-2001) served as the firm’s chief engineer from 1934-1938.

Although the Florida firm turned out work of a higher quality, and in higher numbers, the Detroit firm garnered more publicity especially with commercial users. The following news item appeared in the September 4, 1937 Deseret News (Utah):

“State Mobile Dental Unit Nears Completion

“Ogden Dentist Named To Supervise Project Designed To Aid Utah Rural Areas.

“A traveling dental unit, instituted to provide dental facilities for persons in rural areas, shortly will be put into service in Utah.

“Conceived by the Utah State Dental Association, as a result of surveys which showed four counties in Utah that have no dentist and many other sections where children are so distantly situated that they have never had an opportunity for dental care, the Mobile Dental Unit will be in charge of Dr. Norman F. Gerris, formerly of Ogden. He will devote his entire time to the project.

“The State Dental Association recommended establishment of the unit to the State Planning Board, which in turn referred it to the division of dental health, State Board of Health. Dr. R. C. Dalgleish, director of the division, perfected plans this summer for service.

“Constructed by the Aerocar Company of Detroit, the unit is 21 feet 10 inches long. It contains a chair, instrument cabinet, instruments of latest design, adequate laboratory, supply and linen cabinets, a modern trident unit, sterilizer, modern lighting equipment and running water.

“Only those children who have been referred by public welfare workers or local licensed dentists will be accepted for treatment. Indigent children will have preference. The plan contemplates that the localities served must assume some financial responsibility for the service. In remote areas where children are able to pay for service but who cannot afford to travel great distances, the plan provides that they stand the cost incident to such trips and pay for dental services.

“The initial demonstration will be in Wayne County, where children are 50 miles from a dentist.”

The Florida Aerocar operation commenced operations in 1929 with the establishment of the Curtiss Aerocar Company of Florida. Glenn H. Curtiss was directly involved in the Florida firm which produced ‘Curtiss Aerocars’, which were generally preferred over the Michigan organization’s ‘Aerocars’.

The firm was headed by H. Sayre Wheeler, the son of Monroe Wheeler, Glenn H. Curtiss' personal attorney and business associate. Hugh A. Robinson served as its chief engineer and a new factory was constructed in Opa-Locka, Florida, a Curtiss-Bright development located southwest of Miami.

Designed according to a romantic Arabian Nights theme, with exotic, pseudo-Moorish architecture, Opa-locka was conceived as an exceptionally attractive community that would provide farmland and industrial employment for its middle-class residents. The streets were given fanciful, thematic names such as Sharazad, MiBaba, Sesame, Sinbad, Caliph and Aladdin. Curtiss took great interest and pleasure in making the community aesthetically pleasing and in executing the details of its development.

Hugh A. Robinson piloted an Aerocar on a Florida to Detroit promotional run in late 1928, the November 21, 1928 Daily New Standard, Uniontown, Pennsylvania reporting:

“The unusual vehicle attached to the four-speed Graham-Paige is an Aerocar, a trailer of airplane type construction. It was driven from Florida to Detroit by Hugh A. Robinson, of the Curtiss Aerocar Corporation, at an average speed of 42 miles per hour for the entire trip. The car is attached to the Graham-Paige by a pneumatic coupling designed by Glenn Curtiss, pioneer aviator and airplane manufacturer. Because of the light weight of the trailer, its minimum of unsprung weight, and long wheelbase, the Aerocar is said to be very easy riding, while high speeds may be safely maintained.”

The trip was also mentioned in the February 1929 issue of Popular Mechanics:

“Combined Bus and Trailer Develops High Speed.

“For comfortable cross-country touring a combination motor coach and trailer has been designed by Glenn Curtiss, pioneer aviator. He has incorporated lines of aircraft it its form and has reduced the weight below that of other vehicles of this size and capacity. The long wheelbase affords ease in riding, and the coach develops high speed. On a recent run from Florida to Detroit, it averaged more than forty miles per hour.”

A follow-up article in the September 1929 issue of Popular Mechanics claimed the air signature of the trailer increased the speed of the automobile:

“Streamline Trailer Increases Speed of Auto

“Believing that the speed of automobiles may be increased by streamlining, Glenn H. Curtiss, airplane manufacturer, has experimented with a luxurious trailer which he calls an ‘aerocar’ because its lines follow those of the airplane. Attaching the trailer to a roadster capable of making seventy-five miles an hour in tests, Mr. Curtiss said that the roadster with the added 1,500-pound trailer increased its speed to eighty-three miles per hour. This increase he attributed to the streamline effect which obliterated the suction, or vacuum, that following in the roadster’s wake and tending to hold it back. When automobiles begin following airplane styles, he predicted, travel will be speeded up 100 per cent. Friction and head resistance are all that prevent a car traveling at far greater speeds, said Mr. Curtiss, adding that at high speed eighty per cent of the engine’s power is used to overcome head resistance. The Aerocar, light in weight, has only two wheels and provides seventy-five square feet of floor space. 'We have been grossly extravagant in motor-car design,' said the airplane maker. 'With a cumbersome motor, over a ton of steel and array of nickel trimmings, wheels, oversize fenders, lights and fittings, it still costs more to travel a mile than it did with a four-horse team and coach a century ago.' Compared with the horse-and-buggy age, he said, the automobile has gained only in power and reliability.

(Caption)“Three views of streamline trailer which Glenn H. Curtiss, its maker, claims actually added to speed of roadster to which it was attached by cutting down the air suction.”

Aerocar’s outfitted for intermodal passenger transport appeared shortly thereafter, the December, 1929 issue of Modern Mechanix reporting:

“Glenn Curtiss Designs Fast Aero Car for Air-Rail Services

“GLENN CURTISS, pioneer pilot and seaplane builder, is the designer of the new aero car which he introduced in Florida. A fleet of these aero cars has been placed in service by the Transcontinental Air Transport at their various fields and terminals for the air-rail service between New York and Los Angeles. The cars are especially adapted to the coupe by a swivel arrangement over the rear axle of the coupe giving the passengers a three-point suspension body to ride in. There are no front wheels on the trailer which is luxuriously fitted. The transfer unit is adapted for speedy transfer of passengers from landing fields to railway depots and vice versa. These aero cars form an integral part of the T.A.T, fast air-rail service from coast to coast taking the passengers by rail at night and by airplane in the daytime.”

In the early days of Curtiss Aerocar, there was a loose, reciprocal arrangement between the trailer company and Hudson automobiles. Early Curtiss Aerocar sales literature recommended Hudson, Essex or Ford roadsters and coupes as tow cars, and some trailer buyers ordered Hudson tow cars through Curtiss Aerocar. Early Curtiss Aerocar trailers were displayed at the Hill Motor Car Company, a Hudson and Essex distributor located at 155 West Flagler Street in Miami.

On July 5, 1929 the decades-long rivalry between Curtiss and Wright was put to bed with the merger of the two companies’ 12 affiliated operations into the $75 million Curtiss-Wright Corp., a firm which remains in business today. It’s unknown how Orville Wright and Curtiss felt about the merger, and even though neither party was financially interested in the deal, it’s hard to imagine that they had set aside their differences of two and a half decades previous.

With the production of the Curtiss Aerocar in good hands Glenn H. Curtiss turned his attention to a new project, a lightweight automobile constructed using aviation technology. He called two of his most trusted former mechanics, Henry Kleckler and Damon Merrill, out of semi-retirement, and the trio went to work in a portion of the old Hammondsport aircraft factory.

Streamlining was paramount. All excess unsprung weight* and drag was discarded, with power supplied by the smallest and lightest engine available. The front-mounted power compartment mated to the passenger compartment via three cushioned coupling devices arranged in a triangular pattern, a system that promised a ride unaffected by the road surface or vibration of the engine and suspension unit. The rubber cushioned couplers were modeled upon the same principles Curtiss had used in his Aerocoupler fifth wheel.

(*Unsprung weight refers to wheels, tires, axles, wheel bearings, brakes and other components directly connected to them - rather than supported by the suspension. The mass of the body and other components supported by the suspension is the sprung mass.)

The aerodynamic and super-light front-wheel-drive vehicle that resulted can be seen in the two views on the right of this page. Curtiss* applied for 2 patents related to the vehicle: US Pat. No. 1948744 – MOTOR VEHICLE – Filed July 9, 1929 – Issued Feb. 27, 1934 and US Pat. No. D1948745 – MOTOR VEHICLE – Filed July 3, 1930 – Issued Feb. 27, 1934.

(*A related patent was filed posthumously by his widow, which addressed an improved version of the front-wheel-drive power unit and integral cushioned couplers.)

While traveling from Hammondsport to the Federal Courthouse in Rochester, New York, Curtiss suffered an acute attack of appendicitis and after being taken to the hospital in Bath, New York was transferred to Buffalo General Hospital where he underwent an emergency appendectomy on July 11, 1930. Although the operation proved successful and Curtiss was on track for a full recovery, he was found dead on the floor of his hospital room on the morning of July 23rd, 1930, the victim of a pulmonary embolism. His body was returned to Hammondsport and buried in the family plot at Pleasant Valley Cemetery on July 25, 1930.

Among the hundreds of messages of condolence and sympathy received by his widow was a telegram from Colonel Charles A. Lindbergh and Mrs. Anne Morrow Lindbergh which stated: “We deeply appreciate the loss in the death of Mr. Curtiss.” Rear Admiral Richard E. Byrd, who had recently returned from his first Antarctic expedition wrote: “My deepest sympathy, in which all member of my expedition join. Mr. Curtiss was my friend and we all realize the great loss that every aviator has suffered in his death.”

The July 24-26, 1930 issues of the New York Times included tributes and condolences from such notables as: Frank B. Rentschler, President of the Aeronautical Chamber of Commerce and United Aircraft & Aviation; C.M. Keyes, president of the Curtiss-Wright Corp.; J.T. Trippe, president, Pan-American Airways; Rear Admiral W.A. Moffett, Chief of Naval Aeronautics; E. Trubee Davison, Assistant Secretary of War for Air; Major Gen. James E. Fechet, Chief of the Army Air Corps.; Lieutenant James H. Doolittle; Doyle E. Carlton, Gov. of Florida; Ernst Brandenburg, director of the aviation dept. of the German Ministry of Transport; and three of Europe’s aviation pioneers, Louis Blériot, Otto Rohrback and Claude Dornier.

Following his unofficial ‘retirement’ in 1920 Curtiss had made a point of placing capable individuals in charge of his numerous business holdings and the development of his Florida properties and corporations (including the Curtiss Aerocar Co.) continued uninterrupted for the next decade.

Shortly after his passing Lena Curtiss applied for 4 automotive-related patents in Glenn’s name:

US1946194 – TRAILER COUPLER (Fifth-Wheel Coupler) – Filed Nov. 23, 1929 – Issued Feb. 6, 1934
UD1948745 – MOTOR VEHICLE (Fifth-Wheel Trailer) – Filed July 3, 1930 – Issued Feb. 27, 1934
USD85816 – TRAILER VEHICLE – (Fifth-Wheel Trailer) – Filed Jan. 8, 1931 – Issued Dec. 22, 1931
US1980613 – MOTOR VEHICLE (Integral Tractor-Trailer) – Filed April 1, 1931 – Issued Nov. 13, 1934

Patents in Curtiss’ name (4 filed posthumously by his executor/widow Lena Curtiss):

US1437172 – CAMP TRAILER - Filed Apr 28, 1921 – Issued Nov 28, 1922
US1880842 – AUTOMOTIVE VEHICLE – Filed Aug. 8, 1925 – Issued Oct. 4, 1932
US1880844 – ROAD VEHICLE BODY STRUCTURE – Filed Jun 8, 1928 – Issued Oct. 4, 1932
US1948744 – MOTOR VEHICLE – Filed July 9, 1929 – Issued Feb. 27, 1934
US1916967 – FLEXIBLE COUPLING FOR VEHICULAR STRUCTURES – Filed Jun 8, 1928 – Issued July 4, 1933
USD85816 – TRAILER VEHICLE – (Fifth-Wheel Trailer) – Filed Jan. 8, 1931 – Issued Dec. 22, 1931

Two years after Glenn’s passing, Lena Curtiss married H. Sayre Wheeler, the President of the Curtiss Aerocar Co. Although he was 12 years her junior, Wheeler was the son of Steuben County, New York, jurist Judge Monroe Wheeler, and had been a longtime Curtiss executive and friend of the family.

The August 4, 1931 Indiana Evening Gazette reported on the nuptials as follows:

“Curtiss' Widow Weds Wheeler

“ATLANTIC CITY, N. J., Aug. 4. — (UP). - Mrs. Lena P. Curtiss, widow of Glen H. Curtiss, aviation pioneer, was married yesterday to H. Sayre Wheeler, president of the Curtiss Aero-Car Company of Miami Springs Florida, Mrs. Curtiss is 51, and Wheeler an associate of the late manufacturer, is 39.

“Plans for the wedding were kept secret and only a dozen close friends witnessed the ceremony. Mrs. Curtiss was attended by Mrs. Florence Illig of Miami Springs and Wheeler by his brother Ramsey, of Buffalo, N. Y.

“The bride was given in marriage by Harry Genung of Auburn, N. Y., manager of the Curtiss estates. Mr. and Mrs. Wheeler will have a honeymoon motor trip through the Adirondacks and Canada. They will live in Miami Springs.”

The couple became well known for their entertainments at the Miami Springs mansion of Dar-Err-Aha, including evenings for enlisted men during the war years. Glenn Junior remembered that they would arrive at the doorstep wide-eyed and certain that they could not be in the right place. Lena would drag them inside to enjoy performers (including a very young Desi Arnez) whom she had imported from the hotels in Miami Beach.

Although the manufacture of Detroit-built Aerocars ended in 1938, Florida-built trailers continued to be built until the start of the Second World War, although in very small numbers. In 1934 the Curtiss Aerocar company forsook Curtiss' Opa-locka, and moved to larger facilities located at 300 Valencia Avenue in Coral Gables, an adjacent Miami suburb.

Shortly after purchasing the Miami-Biltmore Hotel, Col. Henry L. Doherty, the owner of the Florida Year-Round Club and Roney Plaza Hotels made a major investment in the firm at which time he started purchasing Aerocars for use in ferrying his guests from place to place.

An article in the July 29, 1934 New York Times, introduced the firm's latest model:

"A Houseboat of the Highway

"The elaborate trailer pictured above is the new model recently introduced by the Curtiss Aerocar Company. This type of trailer was originally developed by the late Glenn Curtiss, and, following his death in 1930, HEnry L Doherty became associated with the company formed top manufacture it. Improvement and standardization of the vehicle have proceeded since then.

"The new Aerocar, which is now availialbe in eight models, has an inside width of 6 feet 2 uibcghes and is equipped with four Pullman type berths, cooking galley, ice box, water supply, closet space, food storage facilities, fans and heaters. There is also a telephone connection between the occupants of the trailer and the driver of the towing automobile, which may be any standard roadster or coupe. A patented Aerocoupler, it is said, securely attahces the trailer to the towing automobile.

"Among the mopdels offered by the company are club and observation car types and a commercial model seating forty passengers. The New York offices of the company are located at 535 Fifthe Avenue and the manufacturing plant is at Coral Gables, Florida."

By 1940 decreased sales forced a relocation of the firm from Valencia Ave. to smaller quarter located in the  Miami-Biltmore garage. The move coincided with the retirement of H. Sayre Wheeler and the appointment of Harry C. Genung, Curtiss Aerocar's longtime manager, as President.

Business users of the Aerocar merchandisers included the Jarman Shoe Co., Nashville, Tenn., mfrs. of the ‘Friendly Five’ line of men's shoes; the Dunn & McCarthy Shoe Corp. of Auburn, NY, mfrs. of the ‘Enna Jettick’ line of women’s shoes (4 Aerocars); Fostoria Glass Co. of Moundsville, West Virginia; the Ranney Refrigerator Co. of Greenville MI., mfrs. of ‘Norge’ refrigerators; Eclipse Lawn Mower Co. of Prophetstown, Illinois; Servel Mfg. Co. of Evansville, Ill., mfrs. of gas and kerosene refrigerators; Singer Sewing Machine Co.; Toledo Scale; E.J. Martin's Sons of Rockville, Conn., mfrs. of Kingfisher Line & Tackle; Madam White Co. of Minneapolis, Minn. (cosmetics – lead vehicle of the ‘Madam White Caravan of Beauty’); Stanley Works of New Britain, Conn., mfr. of Stanley Tools; Victor Radios (mfr. by RCA) and General Electric appliances.

The Dunn & McCarthy Shoe Corp. of Auburn and Binghamton, New York, manufacturer of the Enna Jettick line of women’s shoes, utilized a fleet of 4 Aerocars which were outfitted with a full complement of the shoemaker’s designs, the September 9, 1931 Weekly Enterprise, (Acton Mass.) reporting:

“The ENNA JETTICK Aerocar shown above is the latest in Enna Jettick Service and will be in Marlboro, at the Charles Bigelow Shoe Store, Main street, this afternoon, from 2 to 4 p. m. It is one of a fleet of cars now touring the United States. It brings the Enna Jettick salesman to the door of his dealer in a luxuriously appointed sample room. It is built by Glenn Curtiss. The Aerocar is furnished in modernistic wicker and plush furniture, a radio, a telephone, barometer and ship's clock. The Aerocar weighs only 1200 lbs.”

In addition to sales trips, the Enna Jettick Aerocar served as a support vehicle for the firm’s Goodyear Blimp (formerly the NC13A Neponset - rechristened NC18A Enna Jettick in 1931), which was used on 1931-32 cross-country promotional tour. The airship’s ground crew traveled in the Aerocar and an accompanying truck which served as the blimp’s mobile mooring mast.

Text from a period Enna Jettick display ad follows:

“The Enna Jettick Aerocar

“The Enna Jettick Aerocar shown on the other side is the latest in Enna Jettick service. It is one of a fleet of cars now touring the United States It is capable of taking the road at automobile speed and of bringing the Enna Jettick salesman to the door of his dealer in a luxuriously equipped sample room. Built by Glenn Curtiss, its lines are those of an airplane body, and it is mounted to ride with utmost smoothness. Attached by an ingenious bird's beak coupling to a coupe which furnishes motive power. Modernistic wicker and plush furniture, a radio, a telephone, barometer and a ship's clock make up its furnishings. At the rear is a room for carrying the shoe samples. The Aerocar weighs only 1200 pounds.

“ENNA JETTICK SHOES Auburn, N. Y.”

The November 16, 1932 issue of the Schenectady Gazette pictured An Aerocar outfitted with General Electric’s new line of home appliances:

(Caption) “One of a fleet of G.E. Electric kitchens used in demonstrating to housewives the advantages of the modern, completely electrified kitchen developed by the General Electric Company. The display unit was designed and is being built by the Aerocar Company of Detroit. The prime mover is a specially built Reo-Aerocar developed to meet Aerocar’s requirements by the joint effort of Reo and Aerocar engineers. Aerodynamic lines introduced by Reo two years ago blend into the air-stream design of the Aerocar.

“Aerocars for G.E. Kitchens: Reo Power Plant Developed for New Type Commercial Unit.

“Reo Motor Car Company has developed for Aerocar Company of Detroit a new commercial motive power unit suited to Aerocar’s needs and to be designated as the Reo-Aerocar. Contract has been placed for a large number of these units for delivery on weekly schedules for the next four months. The outside appearance of the new job, developed by Reo and Aerocar engineers, is that of a standard coupe with aerodynamic lines. These blend into those of the Aerocar in the complete commercial unit.

“Regarding the development of the new standard prime mover unit for Aerocar, W.J. Parrish, president of the company said: ‘In developing and marketing high grade sales coaches of a large size we have found most standard high speed truck units satisfactory from the performance standpoint. But dissatisfaction of a certain class of buyers with the appearance of these power units made increasingly apparent the need of creating a new design. Rather than engineer and develop such a unit we prepared specifications that could be met, if he felt disposed, by any manufacturers producing bother passenger and commercial vehicles. After inviting numerous motor car companies to bid, we have awarded a contract to Reo Motor Car Company for our requirements for the rest of 1932.’

“Among Aerocar’s recent commercial sales is a national fleet to demonstrate to the American housewife from coast to coast the advantages of the new G.E. electric kitchen developed to lighten her work and make it more pleasant. These demonstrating kitchens were designed and built by Aerocar exclusively for the General Electric Company and are furnished to General Electric distributors, complete with motive power units. Such kitchens are either in service at, or en route overland to, San Francisco, Los Angeles and San Diego, Cal., Houston, Texas, Newark, N.J., and New York City. The equipment in the kitchen includes the electric refrigerator, electric dishwasher, electric mixer, Hotpoint electric range, electric washing machine, electric ironer, standard cabinets, and a long list of other time and labor saving electric appliances.

“These special Reo-Aerocar coupes are powered by Reo’s standard six-cylinder gold crown engine.”

The Activated Alum Corp. of Baltimore, MD., outfitted one Aerocar for use as a mobile laboratory and the Aetna Casualty and Surety Co.’s Aerocar, dubbed the ‘Safety Special’, toured the country with a safe driving demonstration. Oil companies were also enthusiastic user of the Aerocar; Pure Oil used an Aerocars as a mobile display unit and sound truck and Cities Service outfitted their Aerocar as a portable theater. Other users included Standard Oil of Ohio and the Gilmore Oil Co. (Socony-Vacuum).

The Plymouth Division of Chrysler Corp. spent a reported $20,000 on an Aerocar that featured a 20’ by 4’ faithful replica of the Plymouth assembly line built inside. The 1937 Plymouth-towed rig toured the country to show the public how its cars were made and included a moving assembly line complete with animated scale workers that appeared to move under their own power. The trailer housed a generator that supplies current for the ingenious system of electric motors that operated the scale factory,’ as well as a public address system and facilities for showing moving pictures.

When outfitted as a passenger ferry, the Aerocar was especially popular with known users including Pan American Airways (4 12-seat Aerocars); Norfolk & Western Railway; Transcontinental Air Transport; Warm Springs Institute, Warm Springs, GA; Virginia Hot Springs Co.; and the Florida Year Round Club (12 18-passenger Aerocars).

Georgia Warm Springs Foundation transported infantile paralysis patients in wheelchairs in an Aerocar equipped with wide doors and a retractable loading ramp.

Col. Henry L. Doherty used a dozen 18-passenger Aerocars to carry members of his Florida All Year Round Club and guests of the Roney Plaza and Miami-Biltmore Hotels between the Miami-Biltmore Country Club and the Cabana Sun Club. At least one of his Aerocars was a double-decker sightseeing rig, whose second-level passengers rode exposed to the elements.

An Aerocar outfitted as a bus was introduced to the trade in the ‘Motors and Motor Men’ column of the October 9, 1932 New York Times:

“A new type of auto-bus, named the Aerocar, has been developed by the Curtiss Aerocar Company of Opalocka, Fla., it is announced. A model was shown in New York last week. The Aerocar, which accommodates seventeen passengers, differs in design from other types of road vehicle in that instead of being rectangular in suspension, with a point of support at all four corners, it is triangular, thus permitting the use of three-point suspension. The bus is intended to be drawn by a roadster or coupe. With which it is connected by an air-cushion steel coupler set. Communication with the driver is effect by telephone.”

Ambulance users included Miami Undertaker W.L. Philbrick, the U.S. Public Health Service, and the Georgia State Department of Health. Foster Bros. stables of Owens Mills, MD. used a 4-stall horsebox; celebrity animal trainer Carl Spitz' used one as a portable kennel for his Hollywood Motion Picture Dog Review; Grolier Inc. the publisher of the 'Encyclopedia of Knowledge' outfitted an Aerocar as a combination reading room/bookmobile, and the City of Miami was an enthusiastic user of Aerotruck refuse haulers.

According to Keith Marvin the Florida factory constructed Aerocar no. 122 during June of 1929. If the first trailer built was given serial no. 001, a total production of 122 trailers by that early date seems plausible however it’s unlikely (though possible) that 122 trailers had been completed as only 2 prototypes existed at the start of the year.

Early catalogs listed 9 distinct models: Ambulance, Commercial (open bed aka ‘Aerotruck’), Horsebox (2 versions – 1 with 4 stalls), Observation Coach (2 versions); Passenger Transport (aka bus); and Streamlined Club Car – most of which were constructed on the standard 6’ 2” wide and 19’ 4” long Model 61 chassis.

By the mid-30s Florida-built Aerocars were available in six distinct lines: the first three were passenger transporters, offering from 17 to 22 passengers, the remaining were, the standard (aka budget) series 161, the deluxe series 61, and the super-deluxe Model JC-100, which for all intents and purposes was a permanent mobile home with 2 bedrooms, a kitchen and a hot-water shower and marine (aka flushing) toilet-equipped bathroom.

Most of the surviving Aerocars are outfitted as personal luxury travel coaches, and an article in the July 29, 1934 issue of the New York Times describes it as:

“A Houseboat of the Highway:

“The elaborate trailer pictured above is a new model recently introduced by the Curtiss Aerocar Company, This type of trailer was originally developed by the late Glenn Curtiss, and, following his death in 1930, Henry L. Doherty became associated with the company formed to manufacture it. Improvement and standardization of the vehicle have proceeded since then.

“The new Aerocar, which is now available in eight models, has an inside width of 6 feet 2 inches and is equipped with four Pullman type berths, cooking galley, ice box, water supply, closet space, food storage facilities, fans and heaters. There is also a telephone connection between occupants of the trailer and the driver of the towing automobile, which may be any standard roadster or coupe. A patented Aerocoupler, it is said, securely attaches the trailer to the towing vehicle.

“Among the models offered by the company are club and observation car types and a commercial model seating forty passengers. The New York offices of the company are at 535 Fifth Ave and the manufacturing plant is located at Coral Gables, Florida.”

Private Flordia-built Curtiss Aerocar owners included such notables as: Carl G. Fisher (real estate dev.); Augustus Post (aviator); Hugh McDonald (NYC investor); William K. Vanderbilt II (sportsman, philanthropist); Henry L. Doherty (oilman); Howard E. Coffin (vice-pres. of Hudson); John J. Mitchell (financier); Joseph E. Widener (horseman, art collector); W.T. Sampson Smith (Cooperstown, NY yachtsman and aviator); Dr. Hubert L. Eaton (owner Forest Lawn); Philip K. Wrigley (chewing gum magnate); Gerardo Machado y Morales (former President of Cuba); and Ruth Bryan Owen (U.S. Ambassador to Denmark – who used hers to sightsee in Europe).

Owners of Detroit-built Aerocars included: Lewis D. Crusoe, (Fisher Body & G.M.); F.L. Roberts, (Ford Benzol of Detroit); William M. Gray (Colonial Traders, Chatham, Ont. Canada); Donald S. Gilmore, (Upjohn Co.); Allen Johnson (Grand Rapids -based theater chain); Dewey D. Battles (Grand Rapids Gravel); J.J. Mitchell (Chicago banker); Paul Butler (Butler Paper, Chicago); and George A. Hughes (Edison Electric Appliance, Chicago).

The firm’s "pièce de résistance" was the Curtiss Aerocar Model 161-BPC which featured a "ship's bridge" – a clerestory-windowed raised cockpit over the prow from which the occupants could enjoy a panoramic view of the countryside. Later versions appeared with a Pleasantaire air-conditioning option which was powered by a generator mounted at the rear of the tow vehicle, the October 27, 1937 issue of the New York Times reporting:

“AIR-CONDITIONING UNIT INSTALLED IN TRAILER; Device Exhibited Here Cools and Washes 300 Cubic Feet of Atmosphere a Minute.

“For the first time in the history of the Automobile Show trailers equipped with a complete, portable air-conditioning unit will be shown at Grand Central Palace. The Curtiss Aerocar Company, Coral Gables, Fla., is said to be the first trailer company to install Pleasantaire units in its models, one of which will be on exhibit at the show. It is expected that several other trailer manufacturers also will display trailers equipped with Pleasantaire units.

“The Curtiss Aerocar is equipped with practically all the comforts of home. One of the outstanding items of equipment in this particular model is the Pleasantaire one-third-ton capacity, double cylinder, compressor air-conditioning unit. Both the air-conditioner unit and the electrical refrigerator may be operated while on the highway by means of an 850 watt capacity, 110 volt motor-driven generator installed on the power unit.

“The unit cools, dehumidifies, odorizes, washes and quietly circulates over 300 cubic feet of air per minute - and keeps any space 2,00 cubic feet or less completely comfortable in the hottest, summer weather. Not a fan or blower in any sense of the word, it completes its task by electric refrigeration. The unit has been very successfully introduced into homes, hotels, hospitals, offices and now trailers. The complete air-conditioner sells for $199.50.

“Among other features of the Curtiss Aerocar are bottled gas tanks which supply fuel for stove and circulating hot water in the galley and the gas grate forward, a 200-watt capacity motor-driven 6-volt generator, 160 ampere hours storage battery, combinations 6 and 110-volt lighting fixtures, thirty-gallon capacity water supply delivered to galley, adjustable waterproof screened roof ventilators, telephone installation for communication between Aerocar and power unit, six 6-colt electric fans, windshield wipers in observation cockpit, Azrock asphalt base imitations tile floor laid over heavy felt, shatterproof glass, roll shades with side guides, roll screens at all adjustable windows, double insulation in floors, side walls and ceiling, side an rear entrance doors, wheel carrier with extra wheel and tire, turn signal lights, and vacuum brakes.”

Prices for a 1937 Series 161 with no interior (bare walls) started at $1,985; when equipped with a kitchen and sleeping for four, the price rose to $2,840. The exterior finish below the windows could be made of metal and painted to match the purchaser's tow car at extra cost, although it’s unknown how many were constructed with the option. According to Autobody magazine one 1937 Model 161-BPC equipped with an observation deck and Pleasantaire air-conditioning cost its owner a whopping $8,500.

According to Keith Marvin, the Florida factory constructed Aerocar no. 122 during June of 1929. The 1937 Curtiss-Aerocar Model 161-E in the Curtiss Museum has a serial number of 251 and other surviving builder's plates bear serial numbers ranging from 209 to 273 which confirms that total production of the Florida-built Aerocars was likely between 250 and 300 units, providing they started with 001 and were consecutively numbered.

New Yorker Magazine’s cartoonist Carl Rose contributed an entertaining cartoon entitled ‘A Caravan of California Millionaires, Fleeing Eastward from the State Income Tax, Encamps for the Night in Hostile Wisconsin Territory’ in its March 7, 1936 issue (reprinted in the May 9, 1938 issue of Life Magazine) that depicts a number of Aerocar-equipped Californian tourists drawn into a circle for protection from less-fortunate native Wisconsonites.

By the late-30s used Aerocars could be had for a song, the manufacturer even offering deals such as the one found in a 1939 issue of Automobile and Trailer Travel Magazine:

“Curtiss Aerocar Bargains

“Two new Curtiss Aerocars that have been used for display and demonstration purposes only, now priced below cost of manufacture:

“Model 100-JU Formerly $3000 Now $1650; Model 163-H Formerly $3500 Now $2650; Further information upon request. Curtiss Aerocar Company, Inc. CORAL GABLES. FLORIDA.”

Although the basic design of the Aerocar originated with Glenn H. Curtiss, most of its improvements were the responsibility of Aerocar’s in-house designer Harold H. Robinson, whose 23 Aerocar-related patents follow:

US1960196 - GUSSET PLATE CONNECTION FOR TRUSS - Filed Apr 2, 1932 - Issued May 22, 1934
USD90084 - DESIGN FOR A COMBINED TANK TRAILER AND TRACTOR - Filed Aug 13, 1932 - Issued Jun 6, 1933
US1960754 - SELF CONNECTING COUPLING DEVICE FOR TRACTORS AND TRAILERS - Filed Apr 2, 1932 - Issued May 29, 1934
US1926177 - COUPLING MECHANISM FOB TRACTORS AND TRAILERS - Filed Apr 2, 1932 - Issued Sep 12, 1933
USD87241 - MOTOR VEHICLE - Filed Apr 2, 1932 - Issued Jun 21, 1932
USD90169 - DESIGN FOR A TRAILER - Filed Mar 2, 1933 - Issued Jun 20, 1933
US2061673 - TRAILER VEHICLE - Filed Sep 11, 1933 - Issued Nov 24, 1936
US2036607 - TANK TRAILER - Filed Jul 11, 1933 - Issued Apr 7, 1936
US2002832 - GUARD SYSTEM FOR TRACTOR TRAILER COMBINATIONS - Filed May 22, 1933 - Issued May 28, 1935
US1941323 - TRAILER NOSE CONSTRUCTION - Filed Apr 1, 1933 - Issued Dec 26, 1933
US1958114 - JACK - Filed Mar 27, 1933 - Issued May 8, 1934
US2006409 - PNEUMATIC SUPPORT FOR VEHICLE FRAMES AND THE LIKE - Filed Sep 11, 1933 - Issued Jul 2, 1935
US2010323 - TRAILER BODY CONSTRUCTION - Filed Mar 2, 1933 - Issued Aug 6, 1935
US2002833 - ALARM SYSTEM FOR TRACTOR TRAILER COMBINATIONS - Filed May 22, 1933 - Issued May 28, 1935
US1958114 - JACK - Filed Mar 27, 1933 - Issued May 8, 1934
USD90925 - DESIGN FOR A COMBINATION TRACTOR AND TRAILER - Filed Mar 27, 1933 - Issued Oct 24, 1933
USD91965 - DESIGN FOR AN OPEN TRAILER - Filed Mar 27, 1933 - Issued Apr 10, 1934
US1982072 - COUPLING FOR TRACTOR TRAILER COMBINATIONS - Filed Jan 5, 1933 - Issued Nov 27, 1934
USD94096 - DESIGN FOR COMBINATION TRACTOR AND TRAILER - Filed Mar 16, 1934 - Issued Dec 18, 1934
USD92559 - DESIGN FOR A TRAILER - Filed Feb 28, 1934 - Issued Jun 19, 1934
US2039452 - TANK TRAILER - Filed Jun 18, 1934 - Issued May 5, 1936
US2045166 - SEMITRAILER BOOT CONSTRUCTION - Filed Apr 26, 1934 - Issued Jun 23, 1936
US1982052 SEMITRAILER - Filed Aug 7, 1933 - Issued Nov 27, 1934.

His father, Hugh A. Robinson Sr., shared the credit for one of the patents (1,982,072 coupling) as did Daniel E. Hennessy (1,982,052 semi-trailer) and William J. Parrish (2,045,166 semi-trailer).

Of the estimated 300 Aerocar trailers thought to have been constructed by the Michigan and Florida factories, twelve are known to remain. Most feature standard wood and wire-frame construction with nitrite-coated Masonite exterior panels, although antique motorcycle and trailer collector Vince Martinico of Auburn, California currently owns an unrestored cupola-equipped, steel-paneled survivor (steel paneling was a factory option).

One 1937 Aerocar is on permanent display at the Glenn H. Curtiss Museum in Hammondsport, New York while a second resides in the collection of the Peterson Museum in Los Angeles, California.

The Peterson Museum’s Aerocar was originally constructed for Dr. Hubert Eaton, the owner of Los Angeles’ Forrest Lawn Memorial Park and its exhibit featured the following description:

“Eaton Reo/Aerocar Rig

“This ultra-streamline Reo tractor was specially built to tow a Curtiss Aerocar, on one of the earliest production fifth-wheel trailers. Custom built for Dr. Hubert Eaton of the Forest Lawn Memorial Parks, its innovative cab-forward aluminum and leatherette body was constructed by Standard Carriage Works of Low Angeles, a coachbuilder that specialized in bodies for trucks and other commercial vehicles. It featured a large storage area, sleeping quarters for the driver, and a separate four-cylinder engine for auxiliary power. A Williams air-brake and dual rear-wheels accommodate the permanently attached 10,000 pound trailer. First equipped with a flat-12 White truck engine, the Reo tractor was fitted with a 300-horsepower Cummins 6-cylinder diesel in 1953 when the original engine wore out after more than 250,000 miles of use.

“The luxurious and expensive Aerocar trailer was built by Curtiss of Coral Gables, Florida, a firm also known for motorcycles and pioneering aircraft. Nicknamed ‘Vagabond’ by Dr. Eaton, it was outfitted for hunting excursions and to transport company executives on trips to inspect various real-estate holdings. Special features include a self-contained restroom and kitchen, comfortable seating for eight, cup holders, and an observation deck equipped with a speedometer, compass, and intercom for communication with the driver. Though currently set up for day travel, the interior can be modified to sleep up to six passengers. The dramatically styled rig was in regular use until retired by Forest Lawn Memorial Parks in 1991.”

Another Aerocar currently resides at the Louwman Museum/Dutch National Motor Museum in Raamsdonksveer, the Netherlands (Het National Automobiel Museum, Steurweg, 8, Raamsdonksveer, NL).

Its Aerocar was built for New York financier Hugh McDonald to take him on his daily journey from Long Island to Wall Street. Providing the motive power was a 1932 Graham Blue Streak coupé with 8-cylinder 4022cc engine developing 90 bhp and giving the car a solo top speed of 85 mph.

The 'bridge' at the front of the caravan over the hitch is fitted out with the kind of instrumentation one would find on a flight deck and includes a compass, altimeter, speedometer and barometer. Behind it rests a mobile office and the rear contains a galley and lavatory.

Aerocars occasionally show up at collector car auctions and St Louis-based collector car dealer Mark Hyman offered an unrestored Aerocar for sale as recently as 2013. Hyman’s Aerocar was originally purchased by pioneering aviator, balloon racer, auto racer, and Broadway actor, Augustus Post. Next, it was owned by the Los Angeles Biltmore, then Jack Smith, owner of Santa Monica’s Republic Van Lines, and finally Hollywood stuntman Robert Breeze, who went by the moniker ‘Wolf River Bob’. Its streamlined fifth-wheel tow rig was produced by Standard Carriage Works of Los Angeles on a 1-ton 1938 Chevrolet HC-1 cab and chassis, with the ash-framed rear bodywork incorporating a storage compartment.

A detailed description of Post’s vehicle from Hyman follows:

“Post commissioned the special tow vehicle from the Standard Coach Works in Los Angeles designed to complement the style and aerodynamics of the Curtiss Aerocar trailer. Surviving photos of the Chevrolet show it under construction employing traditional wood-framed, metal covered techniques. The tow vehicle was driven across country to Coral Gables where it was mated up with its custom-designed travel Aerocar.

“Aircraft-style construction, fittings and equipment are used throughout both the Chevrolet tow vehicle and the Curtiss Aerocar both finished in red with silver painted composite roof. The four-door Chevrolet has a bench style front seat with two cloth upholstered reclining aircraft-style seats in the rear and is very comfortably trimmed and finished including wood window surrounds, rollup windows and a pull-down rear window shade. The fifth wheel mount located over the rear axle is based on an aircraft tire, wheel and axle, a system patented by Glenn Curtiss. The 207 cubic inch overhead valve inline six-cylinder engine has an Ellis intake manifold, split exhaust manifold and dual exhausts. A 4-speed transmission, 12 volt electrical system, hydraulic brakes and two 20-gallon gas tanks complete its equipment. The Aerocar has its own vacuum-operated braking system.

“It is equipped with a telephone-style system to communicate with the tow vehicle. The Aerocar is divided into two rooms. The front compartment has a rear-facing settee, two comfortable aircraft-style seats, pull down Pullman-style bunks, cabinets, clock, altimeter, folding table and chairs that convert into more beds, chest of drawers and even a closet. To the rear the other compartment has a full kitchen with an icebox, 3-burner stove, sink, water holding tank in a stainless steel enclosure. A separate bathroom has a toilet, shower and lavatory. The Aerocar is equipped with its own pair of 20-gallon water storage tanks with pressure pump and a butane tank for the stove mounted outside the back just above the rear-mounted spare. It is wired for external AC power. The windows have pull-down shades and wood surrounds.”

Stephen Butcher, a partner in Funky Junk Farms, a film prop rental house located in Altadena & Fillmore, California owns a second unrestored 1934 Aerocar with a COE Dodge tractor.

A restored 22' 1936 Detroit-built Aerocar, originally constructed for William Gray, the son of Canadian automobile executive Robert Gray - founder of Gray-Dort - is privately owned by Ken and Lana Hindley of Union, Ontario, Canada.

Glenn H. Curtiss’ widow, Lena Pearl Neff Curtiss Wheeler died in 1951 and was buried next to Glenn under a stone marked ‘Lena Curtiss Wheeler.’ G. Carl and Dorothy Adams had no children, and after the death of his sister-in-law Lena, longtime Curtiss family friend, bookkeeper and secretary Florence Illig came to live with the Adamses, and inherited their estate.

Glenn and Lena’s surviving son, Glenn H. Curtiss Jr., became a successful South Florida Volkswagen distributor, passing away in 1972.

©2013 Mark Theobald for coachbuilt.com with special thanks to Keith Marvin and the Glenn H. Curtiss Museum, Hammondsport, New York.


<previous

 more pictures p1 p2

 

 

 
   
 
Pictures

<previous  more pics p1 p2  
   
 
   
 
References

Beverly Rae Kimes & Henry Austin Clark - Standard Catalog of American Cars: 1805-1942

Glenn H. Curtiss & Augustus Post - The Curtiss Aviation Book, pub. 1912

Irwin W. Near - A History of Steuben County, New York and its People, Vol. II, pub. 1911

Frank N. Potter  - Of Heart and Wheels, Antique Automobile, Vol. 42, Nos. 1-6, pub 1978

Frank N. Potter - Darling of the Titans, The Automobilist (AUHV), June 1962 issue

Keith Marvin - Flying On The Ground: Curtiss' Wild Conversions, Special Interest Autos No.76, August 1983 issue

Keith Marvin – The Grounding of the OX-5. Knight-Overland Starter, Fall 1983 issue

Herman C. Brunn - Four Custom Bodied Cars Designed for Glenn Hammond Curtiss, Antique Automobile, March-April 1977 issue.

Roger B. White - Planes, Trailers and Automobiles: The Land Yachts of Glenn Curtiss, Automobile Quarterly Vol. 32, No. 3, April 1994 issue

Jim Donnelly - Glenn H. Curtiss, Hemmings Classic Car, Dec. 2006 issue

Clara Studer – Sky Storming Yankee: The Life of Glenn Curtiss, pub. 1937

George W. Green - Special Use Vehicles: An Illustrated History of Unconventional Cars and Trucks Worldwide, pub. 2007

38 Reo RV & '38 Curtiss Aerocar - Cars & Parts Magazine, October, 2000

Cecil R. Roseberry - Glenn Curtiss, Pioneer of Flight, pub. 1972

Alden Hatch - Glenn Curtiss: Pioneer of Aviation, pub. 1942

Kirk W. House - Hell-Rider to King of the Air: Glenn Curtiss' Life of Innovation, pub. 2003

Seth Shulman - Unlocking The Sky: Glenn Hammond Curtiss and the Race to Invent the Airplane

William F. Trimble - Hero of the Air: Glenn Curtiss and the Birth of Naval Aviation 

Jack Carpenter - Pendulum: The Story of America's Three Aviation Pioneers--Wilbur Wright, Orville Wright, and Glenn Curtiss, the Henry Ford of Aviation

Allan Wallis - Wheel Estate

F. E. Brimmer - Autocamping, pub. 1923

Louis R. Eltscher & Edward M. Young – Curtiss-Wright: Greatness and Decline, pub. 1998

B. Yenna - The World’s Worst Aircraft

Chiori Santiago - House Trailers - Smithsonian Magazine, June, 1998

Frank Parker Stockbridge - Glenn Curtiss, Air Pilot No. 1, Popular Science, April, 1927 issue

Taylor W. Meloan - Mobile Homes: the growth and business practices of the industry, pub. 1953

Robert Scharff & Walter S. Taylor - Overland and Sea:  A Biography of Glenn Hammond Curtiss, pub. 1968

Arrol Gellner & Douglas Keister – Ready To Roll, pub. 2003

H. Sayre Wheeler - Opa-Locka: Created From the Arabian Knights, Journal of the American Institute of Architects, April, 1928 issue

Seth H. Bramson - The Curtiss-Bright Cities: Hialeah, Miami Springs & Opa Locka, pub. 2008

Peter M. Bowers – Curtiss Aircraft: 1907-1947, pub. 1979

Frank S. FitzGerald-Bush - A dream of Araby: Glenn H. Curtiss and the founding of Opa-Locka, South Florida Archaeological Museum, pub.1976

Seth H. Bramson - The Curtiss-Bright Cities: Hialeah, Miami Springs & Opa Locka, pub. 2008

Diane DeBlois - Hitch Up to Luxury, Society of Commercial Archeology Journal, Vol. 27, No. 2, Fall 2009 issue

David Langley - The Life and Times of Glenn Hammond Curtiss - aviation-history.com

Joel Silvey - The History of the Popup Camper - popupcamperhistory.com

Charles R. Mitchell & Kirk W. House – Glenn H. Curtiss: Aviation Pioneer, pub. 2001

Historical Museum of Southern Florida, 101 W. Flagler St., Miami, Florida

http://www.youtube.com/watch?v=pmRh1ADadRU

http://www.youtube.com/watch?v=bUEL9mjpJQo

http://www.youtube.com/watch?v=qeZ8ZlStXf8

http://www.youtube.com/watch?v=WlM0C0TjVzs

   
 
Extended Auto Warranties WarrantyDirect.com
Are you paying too much? Make sure your auto warranty covers your entire vehicle.

Car Shows CarShowNews.com
State by State directory of car shows; includes new car shows and classic auto events.

Auto Buying Guide SafeCarGuide.com
Paying too much? Use this step by step guide to help get the best deal on your next car.

Car Books, Models & Diecasts MotorLibrary.com
Your one stop shop for automotive books, models, die-casts & collectibles.

ADVERTISE 

   
 
Submit Pictures or Information

Original sources of information are given when available. Additional pictures, information and corrections are most welcome.

Click Here to submit pictures or information

   
   

quicklinks|buses|cars|designers|fire apparatus|limos|pro-cars|taxis|trailers|trucks|woodies


© 2004-2013 Coachbuilt.com, Inc.|books|disclaimer|index|privacy